cf信用星级查询方法
穿越火线当中玩家的游戏行为会影响自己的信用,不少玩家不清楚自己游戏当中的信用星级怎么查询,玩家可以前往游戏官网当中的客服界面进行查询,详细的cf信用星级查询方法就和小编在下面一起来看看吧。 本文来自零六找游戏
cf信用星级查询
1、玩家进入游戏官网之后点击右上角的在线客服。
lingliuyx.com
零六攻略小程序
2、在这里登录自己的游戏账号。 内容来自lingliuyx.com
零六游戏攻略平台
3、登录成功之后就可以看到自己15天内的信用积分变化以及其他方面的游戏信用。
零六游戏,游戏平台零六找游戏
零六游戏公众号
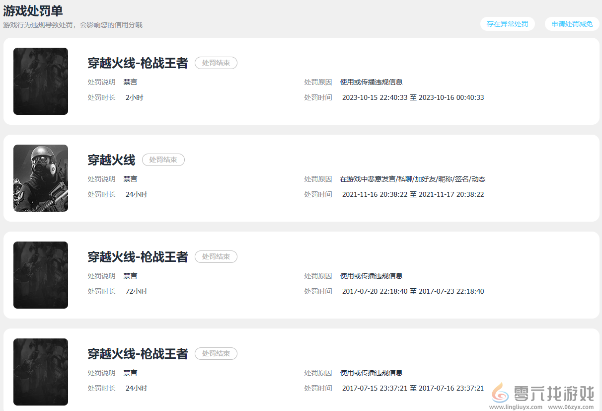
4、在这里对于自己曾经的游戏处罚单也是能看得到的。
攻略来自lingliuyx.com

cf信用星级查询方法的全部内容就介绍到这里,更多穿越火线相关攻略正在添加中,敬请期待!
免责声明:我们致力于保护作者版权,注重分享,被刊用文章【本页文章内容】因无法核实真实出处,未能及时与作者取得联系,或有版权异议的,请联系零六找游戏管理员,我们会立即处理!
便捷联系:微信公众号搜<零六游戏>联系在线客服即可
相关游戏资讯
猜你喜欢内容
热门推荐
最新开服推荐
游戏攻略
加入收藏
